




熱塑性塑料管材,包括各種PVC管材,其拉伸性能主要測試拉伸屈服應力、斷裂伸長率,國標GB/T 8804.1-2003就是關于此的方法規定。拉力試驗機用來完成測試要求,也是塑料管材企業必配試驗設備。
測試原理是,沿著熱塑性塑料管材的縱向裁切或機械加工制取規定形狀和尺寸的試樣,通過拉力試驗機在規定條件下進行拉伸,測試得出性能參數。
試驗機需要配置引伸計,是自動記錄試樣的長度變化的一種儀表。
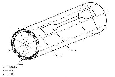
試樣的裁取,如圖所示:
試驗機的拉伸速度與管材的材質和壁厚有關,按產品標準或GB/T8804.2或GB/T8804.3的要求確定試驗速度。
試驗機的精度等級應達到1級以上。